Classic Partner Suche
Downloads
Newsletter
DE
EN
Menü
Classic
Services
BMW Classic Ersatzteile
Ersatzteile BMW Automobil
Gleitbacken
DE
EN
Classic Partner Suche
Downloads
Newsletter
Über uns
Services
Modelle
Community & Clubs
Downloads
Kontakt
Übersicht Community & Clubs
Clubs
Community
Events
Podcast Classic Heart
Newsletter
Übersicht Events
Wheels und Weisswürscht
Concorso d’Eleganza Villa d’Este
Eventkalender
Übersicht Modelle
BMW
BMW Motorrad
MINI
Übersicht Services
Werkstatt
BMW Classic Ersatzteile
BMW Classic Partner
BMW Group Archiv
Zertifikat für Fahrzeugdaten
Meetingräume buchen
Übersicht BMW Classic Ersatzteile
Ersatzteile BMW Automobil
Ersatzteile BMW Motorrad
Über uns
Marken
Geschichte
BMW Museum
Standort
Übersicht Standort
Führungen
Fahrzeugsammlung
Classic Café
BMW Produktkatalog.
Mehr erfahren
BMW Museum.
Mehr erfahren
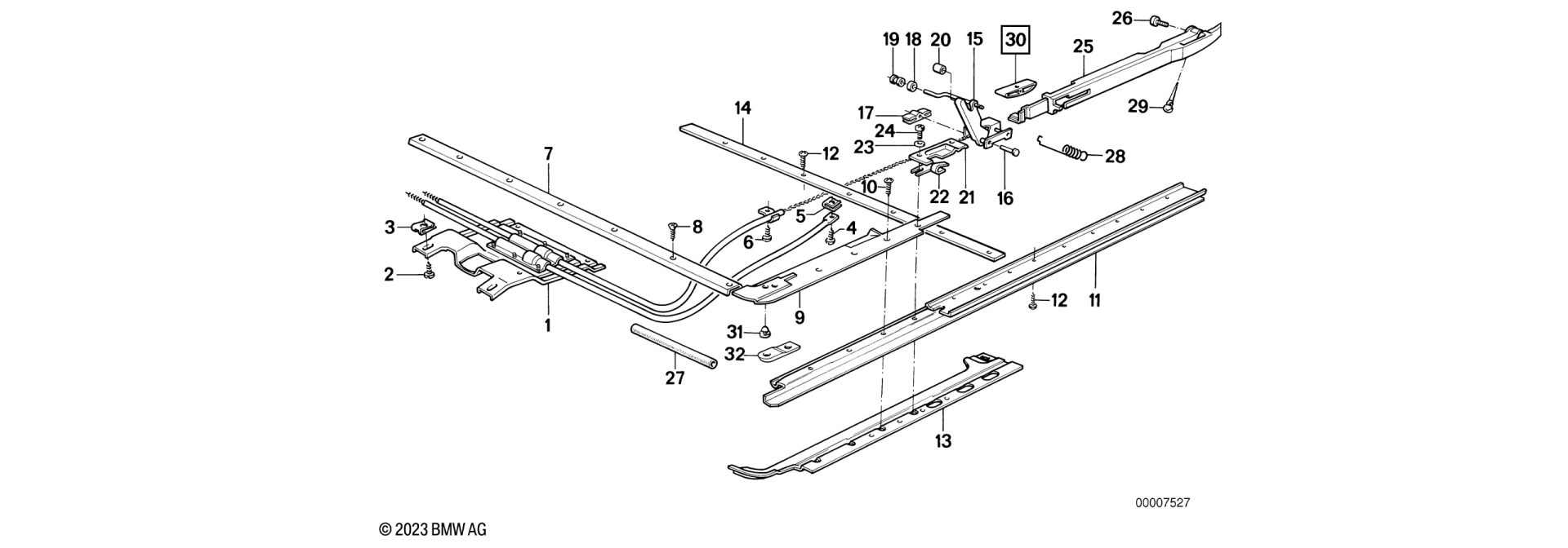
Position 30:
Gleitbacken
Seitenübersicht: Gleitbacken